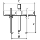
Informations EXTRACTEUR EN VALISE
Extracteur multiple à 2 griffes réversibles pour extérieur et intérieur dans une valise
Corps et griffes forgés
vis avec pointe rotative à 90 degrés
un protecteur du point est compris
Les griffes 32 ont une fente pour pouvoir tirer des vis
Deux griffes peuvent être joints pour obtenir une plus grande hauteur Quatre jeux de jambes différents
Placement rapide et changement de jambes
Références EXTRACTEUR EN VALISE |
||||||||
|---|---|---|---|---|---|---|---|---|
| Référence | Gencod | A Ht util griff | B Ouvert.maxi | C larg corps | Prix Unit. | Qté. * | Action | |
| 1805-C | 8424427213164 | 140 | 173 | 186 | 184,30 € |
|
||
| 1810-C | 8424427611434 | 182 | 250 | 280 | 265,90 € |
|
||
























